主要性能參數
|
規格
|
額定動力矩 |
靜力矩 |
額定電壓 |
線圈消耗功率 ( 20 ℃ ) |
允許最高轉速 |
|||
|
離合器 |
制動器 |
離合器 |
制動器 |
離合器 |
制動器 |
|||
|
1 |
10 |
10 |
11 |
11 |
|
16 |
10 |
4000 |
|
8 |
80 |
80 |
90 |
90 |
36 |
38 |
3000 |
|
|
25 |
250 |
250 |
275 |
275 |
50 |
49 |
2000 |
|

|
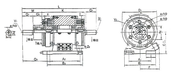
規格 |
A1 |
A2 |
B1 |
B2 |
C |
D1 |
E |
F |
G |
K |
L |
M |
N |
V1 |
V2 |
|
1 |
65 |
90 |
90 |
105 |
65 |
100 |
27.5 |
58 |
10 |
126 |
217 |
57 |
37 |
M2深8 |
3-M4深6 |
|
8 |
135 |
160 |
175 |
185 |
115 |
190 |
42 |
97 |
15 |
221 |
399 |
113 |
62 |
M6深11 |
6-M5深8 |
|
25 |
180 |
225 |
225 |
255 |
160 |
280 |
45 |
126 |
20 |
315 |
611 |
179 |
100 |
M10深17 |
6-M6深12 |
|
規格
Size |
X1 |
X2 |
Z1 |
Z2
|
ф1
|
ф2
|
Q1
|
Q2 |
Q3
|
h1
|
h2 |
e1 |
e2
|
δ
|
|
1
|
3-120°
|
60°
|
13.5
|
6.5
|
14
|
45
|
30
|
25
|
78.5
|
11-0.10
|
42-0.10
|
5
|
5
|
0.2
|
|
8
|
6-60°
|
30°
|
24
|
11
|
28
|
75
|
60
|
50
|
149
|
24-0.20
|
71-0.10
|
8
|
8
|
0.3
|
|
25
|
6-60°
|
30°
|
28
|
14
|
42
|
110
|
110
|
65
|
231
|
37-0.20
|
104-0.20
|
12
|
16
|
0.5
|



